Drawing Views. Detail Views |
![]() ![]()
|
This chapter describes an auxiliary element of T-FLEX CAD system – the drawing view. Additional views, detail views, local section views and sections – all these instances are supported by Drawing View. This functionality handles situations when elaboration to the images on the main views is required. This can be an additional view, and, in particular, a scaled view. The functionality allows collecting together on one page elements from different pages, inserting an image (or a portion thereof) from one page into another page in various scales, even create a simple assembly from parts contained in the same document.
Main concepts
A drawing view is an element of T-FLEX CAD that allows displaying contents of one page (or a portion thereof) on another page, scaled to the desired factor. It is a rectangular area of specified size used for displaying the contents of another page.
The page displayed within a drawing view can either be selected from the list of existing pages in the document or additionally created for the drawing view. The newly created page is assigned the type "Auxiliary". A drawing view can be nested, that is placed within another drawing view.
Location of the drawing view box on the main page can be specified by either direct selection of the fixing point and the view rotation angle or with the help of the fixing vector located on the view page.
The main purpose of a drawing view is to display on one page drawing elements of different scales. For example, one can create a drawing of some object on one page and then create drawing views of this object on other pages that will display portions of this drawing to various scales.
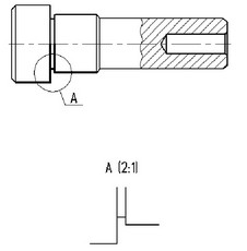
Besides, drawing views can be used simply for collecting the contents from different pages. This may be used for adding to the main drawing some additional, local views and sections created on other document pages in different scales. This capability is the most common way of using drawing views in T-FLEX CAD. Note that the images on the detail views can be copied from other pages of the current document when the drawing view is created (see section “Creating Detail View”), and enhanced with captions of the view notations (see section “Creating Detail View with Caption”).
Detail View
|
Detail View with Caption
|
The image displayed on a drawing view can be created or edited either on the original page of the drawing view elements, or directly in the view area of the main page by activating the view.
Limits are shown on the drawing for drawing view and detail view. The limits are not printed. If you want to change color of the limits use the option Limits of inactive drawing view on the Color tab in the SO: Set system options command. You can specify colors of the other drawing view elements on the tab.

Creating drawing views
Drawing views are created using the command “SD: Create Drawing View”:
Icon |
Ribbon |
|---|---|
|
Draw → Draw → |
Keyboard |
Textual Menu |
<SD> |
Draw > Drawing View |
After invoking this command, the following options will appear in the auto menu:
<О> New Drawing View
<V> New Detailed View
<С> New Detailed View with Caption
<S> Create drawing view by contour
These options define different modes of creating drawing views. These command operation modes can be also specified in the properties window (parameter “Type” in the group “Basic parameters”). The command's properties window and the auto menu work synchronously. |
|
Working with Draggers of Drawing View
For defining location, rotation angle and dimensions of the drawing view, a special type of the cursor in the form of the dynamically movable rectangle with markers is used. Markers can be used for modifying location, rotation angle, the scale and the size of the view, location of the fixing vector or fixing point.

The markers are used as follows: a marker is activated simply by pointing the cursor and clicking
. Then the marker can be moved to the desired position. The second click
fixes the new position of the view. Alternatively, the marker can be “dragged” by moving the cursor with the mouse button
held down. In this latter case, the placement of the view in the new position occurs on releasing the mouse button.
As the placement or parameters of the view are modified, the original state stays in display.
To change the view box size, the square-shape markers are used, located in the corners and at side midpoints of the view box. When pointed at by the cursor, the latter changes to a two-headed arrow
.
The
marker provides for modifying the view scale, that is the scale factor of the page display in the view box. The exact value of the scale can be entered in the view parameters dialog box.
The marker
allows changing the view rotation angle about the fixing point. (In the case the view was based on an existing page and a fixing vector, this will be the rotation angle of the fixing vector.) The exact value of the rotation angle can be entered in the view parameters dialog box.
For moving the view image relative to the page, on which it is located, the marker
or the marker of the fixing point of the view (in the form of the filled square) can be used.
Location of the fixing point of the view is shown with the marker in the form of the unfilled square. When creating the drawing view on the basis of the existing page with the help of the fixing vector, the location of the given marker coincides with the origin of the fixing vector.
For modifying the fixing point of the view, point at the marker for fixing the view while holding the button <Shift>. After that, to select the fixing point, you can pick (by pressing
) one of the characteristic points of the view box (corners of the view box and the midpoints of its sides). You can also specify the fixing point of the view arbitrarily by using <Ctrl>+
.
It is also possible to change the location of the fixing point of the view with the help of the option
of the auto menu for the command of creating/editing the drawing view.
For moving the drawing view area (that is, the drawing view box relative to the page displayed in the view), the marker
is used.
Originally, the boundaries of the box coincide with the boundaries of the displayed page. Shifting the view with respect to its page makes sense only when a portion of the page is supposed to be displayed on the view. In this case, the “Clip Image” flag is usually checked in the parameters dialog box, and the view box manually reduced to the desired size.
Creating Drawing View
After entering into the command “SD: Create Drawing View” the option
becomes active by default. This option allows the user to create a simple drawing view. The created view can display the contents of already existing page of the current document as well as of the new page, automatically created by the system for the given drawing view.
After activating the option the cursor starts moving a box with markers for moving the view area, rotating and scaling the view. Meanwhile, the status bar displays the help message “Select Drawing View type or set new Drawing View placement”. The drawing view can be placed on the current page by specifying a point on the drawing (a 2D node or an arbitrary point). |
|
To fix the view at a node, one can use the following automenu option:
<N> Set relation with Node
The location of the created view (coordinates X and Y of the fixing point) can be also specified in the command's properties window (in the group “Basic parameters”).
By default, the snap of the drawing view is carried out at the center of the view box. It is possible to select another fixing point of the view with the help of the option:
Fixing Point of View
After specifying the view location, the user can define more accurately the location, the size and the scale of the view by using the markers around the view box (the use of markers is described in section “Editing drawing views” in more detail).
It is possible to specify parameters of the created drawing view in the command's properties window:
Create New Page. A new page (“Auxiliary” type) will be created along with a new drawing view. The parameters “Width” and “Height” define the page size. These also define the initial size of the drawing view box. The parameter “Scale” defines the scale factor of the view page. These settings are entered as the “Paper size” group of parameters and “Scale” parameter of the newly created drawing page on the tab “Paper” of the ST: Set Document Parameters command. The created page will not contain any constructions. The user is supposed to create the necessary contents on this page himself. The editing techniques of drawing views and their contents are described in the section “Editing drawing views”. Use Existing Page. Allows selecting any existing page in the document (except the current one) from the list. This parameter is inaccessible for one-page documents. The size of the drawing view box is automatically set in accordance with the size of the selected page. Fixing Vector. Setting this parameter allows the user to select and use the fixing vector existing on the selected page for snapping the created drawing view. The parameter is accessible only when the flag “Use Existing Page” is set and when a fixing vector exists on the current page. Note that, when using the fixing vector, it is necessary to specify two fixing points of the drawing view. |
|
Fixing Vector can be used for placing a drawing view, just like a 2D fragment. This also allows controlling the current page layers visibility as the page is displayed on a view. Use of fixing vectors is described in details in the chapter “Assembly Drawing”.
The group of parameters “Parameters” combines auxiliary parameters of the drawing view:
Scale. Defines the scale factor of the drawing view, which is the scale of transformation of the view page as it appears on the main page.
Rotation Angle. This parameter is inaccessible when using a fixing vector.
Clip Image. When set, the page in the view is clipped to the extents of the actual image contained on the page.
Scale Lines. When set, the thickness of the graphic lines on the drawing view will be affected by the “Scale” parameter.
To complete view creation, use the option
. As a result, a rectangular area of the drawing view will be created, with the contents of the specified page or its portion displayed within.
Creating Detail View
The option
allows the user to automatically create the detail views on the basis of the drawing view. As a result of its use, the drawing view containing automatically created copy of the selected elements of the drawing will be created. In addition, the image on the drawing view page will be automatically augmented with the view caption.

When using this option, the following will be created:
1.A new drawing view (based on a new “Auxiliary”-type page). The drawing view parameters are set “by default”;
2.A translated copy (as in the command “Drawing|Copy|With translation”) for associative copying of the selected elements onto the drawing view page with specified parameters (scale and rotation angle);
3.The caption for the detail view.
As a result, a rectangular area of the drawing view is created on the main page with copies of selected elements displayed within. The size of the drawing view, as well as the size of its respective page, is defined automatically by the system based on the size of the copied entities. If necessary, the size of the drawing view and its page can be modified manually.
For creating the detail view, it is necessary to do the following:
1.Select the elements to be copied from the original drawing;
2.Select the fixing node for the copied elements;
3.Define location of the detail view (that is, the location of the drawing view containing the detail view).
After invoking the option
the options for selecting the copied elements will appear in the auto menu:
<M> Select Mode
<M> Deselect Mode
<I> Select Other Element
When the option is turned on
all elements selected on the drawing are added to the list of the copied elements. For quick selection of several elements, you can use the selection with the window. When the option is turned off
the selected on the drawing elements will be removed from the list of the copied elements. For quick selection, you can use the selection with the window here as well.
Complete the selection of the elements, which will be copied onto the detail view, by pressing
.
After selecting the copied elements, the system will prompt the user to specify the fixing point of these elements (it will serve as the initial point of the copy to be created). The option for selecting a 2D node will appear in the auto menu:
<N> Set relation with Node
After choosing the fixing node, the dynamic image of the created detail view attached to the cursor will appear on the screen. The location of the detail view on the drawing has to be selected next. After snapping the view, its location and size can be adjusted with the help of the markers for editing the drawing view.
To make the caption of the detail view change its location according to the modifications of the drawing, it is recommended to fix the drawing view to the 2D node.
Before completing the detail view creation, the dialog for specifying parameters of the created view will remain available in the command's properties window. In this dialog you can specify the precise values for the fixing point of the view, and also the following parameters:
Copy Scale. This scale determines the scale with which the selected elements of the drawing will be copied. The group of parameters “Image” defines parameters of the drawing view being created (these parameters can be also specified directly in the drawing's window with the help of the markers on the view image): Scale. The drawing scale of the drawing view, that is the scale with which the drawing view page is shown in the view area; Rotation Angle. Angle of rotation of the drawing view. Group of parameters “Text” allows specifying parameters of the view caption: Letter (Text):. In this field the lettered caption for the created view is shown (selected by the system automatically). If necessary, you can choose another caption. Auto Increment. When this flag is set, for each new detail view the “available” letter is automatically selected. It is shown in the field of the parameter “Letter (Text)”. When this flag is turned off, the automatic selection of the lettered caption does not occur. First Line. The text in the first line of the view caption. This parameter supports the special format. To insert the lettered view caption (the value of the parameter “Letter (Text)”) into the line, the group of symbols “<Letter>” is used. To insert the copy scale caption (“1:1”, “1:2” ...) – the group of symbols “<Scale>”. By default, the string “<Letter> (<Scale>)” is set for this parameter. Underline. When this flag is set, the text in the first line of the view caption will be underlined. Second Line. This parameter defines the text of the second line of the view caption. Clip Image. When this parameter is set, the view image will be cropped by the drawing view borders. Scale Line Width. If this parameter is set, the width of the graphic lines of the detail view will be scaled according to the specified drawing scale of the view. |
|
The last step of the detail view creation is the view outline creation. The system allows to define the outline after pressing
.

A dotted line appears around the selected area for the detail view. The line is divided into segments. A click into a segment enables/disables the display of the selected segment.

The following options are available:
|
<S> |
Show all segments of detail view outline |
|
<H> |
Hide all segments of detail view outline |
|
<I> |
Invert visibility of detail view outline segments |
You can specify parameters for t he outlines using the option
.

To complete view creation, use the option
. For the view constructed, the caption will be automatically created. The obtained view can be edited and augmented, if required.
Creating Detail View with Caption
Creating the detail view with the caption with the help of the option
is an extension of the case of creating just a detail view (the option
). The option
creates the detail views clipped by the specified contour and with automatic creation of the caption for the detail view on the given drawing.
As a result of its use, the caption for the detail view is created on the drawing. The image of the detail view itself is automatically clipped by selected contour (circle, oval or rectangle) and augmented by the view caption. The obtained image can be edited later by using the standard tools of the T-FLEX CAD.

When creating the detail view with the caption, the following will occur:
1.Creating the new drawing view (on the basis of a new page of the type “Auxiliary”). The values of the parameters of the drawing view are set “by default”;
2.Creating a copy with translation for associated copying of the selected elements onto the drawing view page with the specified scale and rotation angle. Clipping the image to be copied by the automatically created hatch of the specified form;
3.Creating detailing elements for the detail view (view caption, caption of the detail view).
After invoking the option
it is necessary to do the following:
1.Select the fixing node for the elements which will be copied;
2.Specify the center of the selection area for the detail view;
3.Specify the form and size of the selection area for the detail view;
4.Specify the location of the leader line jog for the detail view caption;
5.Specify the location of the detail view (that is, the location of the drawing view with the detail view).
Note that in the described sequence of steps, there is no step for selecting the original elements to be copied. When creating the detail view with the caption, the collection of the copied elements is determined by the view selection area – all 2D elements at least partially contained in the specified area will be copied.
For selecting the fixing node, in the auto menu of the command the following option will be available:
<N> Set relation with Node
The fixing node will determine the initial location of the fixing point for the created view. If, upon specifying the fixing node, the user selects an arbitrary point on the drawing (with the help of
), then at this point the free node, which will be selected as the fixing node, will be automatically created.
After specifying the fixing node, the system will ask to specify the center of the selection area. This can be done by picking an arbitrary point in the drawing's window (with the help of
) or by specifying exact coordinates in the command's properties window.
The center of the selection area can be also defined by selecting a 2D node or offset of the center point from the fixing node (selected at the previous step). For selecting the 2D node the following option is used:
<N> Set relation with Node
For specifying the offset of the center of the selection area from the fixing node, the following option is used:
<A> Set Relative Position
After selecting the center of the selection area, the form and dimensions of the area need to be specified.
The form of the area is specified in the command's properties window: circle, rectangle, oval. The dimensions of the area can be specified either in the properties window or directly in the drawing's window (the dynamic image of the area's bounding frame will follow the cursor, pressing |
|
After specifying the view selection area, the location of the leader line jog for the view caption has to be defined. Dynamic image of the leader line jog will follow the cursor. Pressing
in the drawing's area will fix the jog location. The jog location can be also specified in the command's properties window (by specifying the coordinates of the starting point of the jog in the group “Basic parameters” of the properties window).
For changing orientation of the jog for the view caption, the following auto menu option can be used:
<Z> Change leader line jog orientation
After specifying the jog location, the dynamic image of the created detail view, attached to the cursor, will appear on the screen. The location of the view on the drawing has to be specified next.
To make the caption of the detail view change its location according to the modifications of the drawing, it is recommended to snap the copied element to the 2D node. After snapping the view, its location and size can be adjusted with the help of the markers for editing the drawing view. Complete the view creation with the help of the option
.
For the constructed view, the caption will be automatically created. The obtained image can be edited and augmented, if required.
Creating Detail View with Breaks
On any detail view the user can create breaks, if necessary. The number of breaks on a single view is not limited. To create breaks, use the following option:
|
<B> |
Add or edit Broken View |
After invoking this option, the system will transfer to the mode of creating/editing breaks on the current view. In the command properties window an additional section “Breaks” appears in which all breaks created on the given view and their parameters will be included.
Note that if the breaks are not yet present on the current view, then after entering into this mode the new break will automatically be created. If the view already has the breaks, then the new break is not created and the system waits for selection of one of the existing breaks for editing its parameters. In this case it is possible to create the new break by pressing the
button next to the list of breaks in the command’s properties window. To remove the break, we use the
button.
The following options will be available in the automenu:
|
<Ctrl+Enter> |
Finish break editing |
|
<C> |
Select base point |
|
<A> |
Select line defining break orientation |
|
<L> |
Select lines defining label’s boundaries |
|
<Esc> |
Exit break creation/editing mode |
By default, the system prompts us to create a horizontal break. This will be shown on the view as a hatched rectangular domain. The hatch lines show the direction of the space compression (perpendicular to the break lines).
The next figure shows an example of the view with the break.


If several breaks are created on the view, then the current break (that is being created or edited at the present moment) is displayed with green color, and the remaining breaks are shown with grey color.
Location of the right and left boundaries of the break can be modified simply by selecting the boundary line with the help of
and by moving it to the desired location. By pressing
again we fix the new location of the boundary.
When moving the break’s boundary, the additional option is available in the automenu:
|
<N> |
Select insertion Node |
With the help of this option, the break’s boundary location can be snapped to a 2D node.
Break’s orientation can be modified by specifying it with the construction line or with the angle of rotation from a horizontal line. To specify break’s orientation with the help of construction line, it is required to invoke the All breaks created on the view are added to the list of breaks in the properties window. For each break the location of boundary lines (“Start” and “End”) is indicated in the list. These coordinates are determined automatically when the user indicates the break zone on the drawing. They can also be specified with precise numeric values or variables (when the mode “In units of a model” is enabled, see below). To do so, it is required to select the desired break in the list and enter the required values for the following parameters: Start. The value that determines the location of the left boundary – for horizontal break, or the lower boundary – for break at an arbitrary angle. |
|
End. The value that determines the location of the right boundary – for horizontal break, or the upper boundary – for break at an arbitrary angle.
If the values are specified as variables, then after the numeric value the corresponding name of the variable is indicated in square brackets.
Other parameters of a break specified in the properties window are common for all breaks of the same drawing view.
The “Measure” parameter determines the way of specifying locations of the break lines – either with numeric values in the units of the view page (“In units of a model”) or as a percentage along the direction of a break (“Percentage”). Positions of breaks can be defined relative to the start, the middle, the end of the image, or from an arbitrary base point (by default it is selected by the system, the base point is marked with an arrow on the view’s image). We can select our own base point for specifying the break’s boundary location with the use of the following option:
|
|
|||
|
Boundaries of the lines of break’s label are defined based on the marginal graphic lines, individually for each side of each break. When defining the boundaries, the formatting elements (dimensions, texts etc.), and also 2D fragments for which the special viewing mode without clipping was specified are not taken into account.
If necessary, the user can make automatically defined view’s boundaries more precise. To do so, we can use the option:
|
<L> |
Select lines defining break’s label |
After invoking this option, it is necessary to indicate two lines of the drawing view. These lines can be both the graphic lines and construction lines (line, spline or function).
When creating/editing a break it is also possible to specify the following parameters in the properties window:
Distance between break lines determines the distance between the parts of the broken view.
Angle. This parameter specifies the angle of rotation of break lines with respect to a horizontal line. Positive direction is in the counterclockwise direction.
Extension lines length. If this flag is absent, then only that part of the break line will appear on the view which directly intersects the image of the view. Otherwise, the break line will go beyond the view’s margins by the magnitude indicated by this parameter.
Do not move breaks. When this flag is enabled, the view’s lines that remain after applying the breaks do not change their location.
The break of a projection can be bounded by the lines that have various shapes. It can be a straight line, wavy line or zigzag line.
Hide break lines. With the help of this flag visibility of break lines can be controlled. When the flag is enabled the break lines are not displayed on the drawing view.
To select properties of the lines that bound the break, it is required to invoke additional dialog. To invoke it, press the [Line’s Property…] button in the properties window. Line’s parameters such as the type, stroke scale, thickness and color define the style of break lines. Properties of wavy or zigzag line. For a wavy or zigzag line it is possible to select parameters such as the number of periods, period length and wave height. Units correspond to the units of a model. For a zigzag line you need to select such value for the period that the break line has only one chip. The size of a chip is controlled by the amplitude. |
|
For a view that contains breaks, a list of “special elements” can be created. It can include formatting elements and 2D fragments. By default the formatting elements and fragments are shown on the drawing view without clipping on top of the main view. This rule also holds for the views with breaks. If it is required that the formatting element or the fragment on the view be cut off at the boundaries of the break, it is required to add the element to the “Special elements” list in the command’s properties window and select the “With clipping” mode for it. |
|
To edit the list of special elements it is required to press the
button to the right of the list. To add the element to the list, select it on the drawing with the help of
. By default for all selected “special” elements, the “without clipping” mode is set. To change the clipping mode, it is sufficient to select the required element in the list – the mode will change (cyclically) whenever we click
.
On the view the elements included into the list are marked with a frame, and furthermore, the elements for which the « Clipping» drawing method was selected, are marked with slanted lines. 
To remove an element from the “Special elements” list, it is required to select it in the list with the help of
and press the
button. It is also possible to indicate the required element in the drawing’s window by pressing <Ctrl>+
. You can remove all “special elements” with the help of the
button.
After all parameters of the break are specified, it is required to complete its creation by pressing ![]()
Creating Detail View by Contour
To create a drawing view by contour you should create a contour in advance. Both the construction lines and graphic lines can be used for the contour creation.

Use the following option to create a drawing view:
|
<S> |
Create detail view by contour |
You should select a contour after the option activation.

Then you should select a fixing point and specify the position of detail view on the drawing.

Then you should edit outline.

To finish a detail view creation select the option
.

Particulars of scaling drawing views
The "Drawing view" element and based on it detail views are created using various T-FLEX CAD instruments (the view page, the drawing view mechanism, the copy functionality). Each of these instruments has its own settings, including the scale:
1. Drawing view page scale (defined under the command ST: Set Document Parameters);
2. Drawing view scale which is the scaling factor of the drawing view page display on the detail view (defined in the drawing view properties dialog box – "Image > Scale");
3. The Scale of the copying the view elements (available in the properties window of the drawing view when using the options
and
).
All these scales are superimposed in the image of the drawing view on the host drawing page.
When creating a drawing view using the options of the command "SD: Create Drawing View", the user defines only two of these scales (for example, the scale of the drawing view and the page scale when using the option
, or the scale of the view image and the copying scale when working with the options
and
). The missing scale is assigned to default value. The user can manually modify the values of all types of scale (see next section), however, in this case, the user needs to clearly understand the mechanism of the scale array.
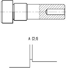
For example, consider the drawing view of a shaft on a diagram in the beginning of this chapter. This drawing view of the shaft in axonometric projection was performed with the page scale equal to 1 and the drawing view scale equal to 0.5 (1:2). As a result, the image of the view on the main drawing page has the cumulative scale equal to 0.5. By changing the drawing view page scale to 2 (2:1), we will get the axonometric projection of the shaft on the main page to the 1:1 scale. Should we change the view page scale to 4 (4:1), the cumulative scale becomes equal to 2 (2:1).

The detail view (View A) in this example was created using the option
. The copying scale and, therefore, the drawing view page scale is equal to 4 (4:1). Meanwhile, the drawing view scale is equal to 1. As a result, the cumulative scale of the detail view image is equal to 4.
Editing drawing views
Editing of a drawing view is done by the command "ESD: Edit Drawing View". The command is called as:
Keyboard |
Textual Menu |
Icon |
<ESD> |
"Edit|Draw|Drawing View" |
|
Upon calling the command, an option appears:
<*> Select All Elements
<R> Select element from list
<Esc> Exit command
Once all drawing views are selected by the option
, they are highlighted, and additional options appear in the automenu:
<Del> Delete selected Element(s)
<Esc> Exit command
Upon selecting a particular drawing view by clicking it
, another option appears in the automenu:
Fixing point of view
<P> Set entity parameters
<I> Select another nearest element
<B> Add or edit breaks
The option
allows the user to modify the fixing point of the drawing view being edited.
The option
brings up the "Drawing View Parameters" dialog box:
Page. Displays the name of the auxiliary page corresponding to the selected drawing view.
The parameter "Scale" defines the scale factor of this page.
Clip Image, Scale Lines, Drawing Scale, Rotation Angle. These parameters affect the display of the drawing view area on the original page.
Layer, level, Priority. Define the values of the respective system-wide parameters.
The selected view is highlighted as a box with markers along the perimeter. The markers control position, rotation angle, scale, view size and the position of the fixing vector or fixing node.
Working with the markers is carried out in the same way as when creating the drawing view (or the drawing view of the element).
The following option completes drawing view editing:
<End> Finish Page View editing
The
option enables the mode of creating/editing breaks on the view.
The command of editing the breaks of the drawing view can also be invoked without the use of the view edit command − from the context menu of the page displayed by the given view. In this context menu it is possible to specify if the diagram of breaks must be shown on the page (“Show”), and also to select the drawing view whose breaks have to be shown and edited (if there are several views displaying the given page). |
|
Editing the image on a drawing view
The image on a drawing view can be edited in two modes:
1. On the drawing view page – as a regular drawing;
2. On the main page, by activating the appropriate drawing view. The view can be activated "in place" or in a separate window. Drawing view activation is done via the context menu after selecting the drawing view, or via commands in the menu "View|Drawing view".
Upon selecting one of the drawing views by clicking
on the drawing page, the following commands become available in the context menu:
Activate Drawing View
. Upon calling the command, all elements on the current page, except for the elements of the drawing view, are grayed out. The boundaries of the drawing view and the drawing view page become highlighted. The graphics of the drawing view can then be edited in a usual way.
Activate in new window
. This mode differs from the previous in that a new window is opened for editing that contains the graphics of the selected drawing view.
Drawing View Parameters
. Brings on the screen the dialog box of the command "ST: Set Document Parameters" with the selected drawing view page settings.
When using the menu "View|Drawing view" first time, only the command "Activate…" is accessible. Upon calling this command, the drawing view selection window is displayed. The selected from the list view will be activated in the current page. |
|
To return to the mode of editing the main page graphics, the active drawing view must be closed by using the command "Close Drawing View All active drawing views can also be closed by using the command "Close All Drawing Views |
|
Calling the command "View|Drawing view| Activate…" from an active nested drawing view brings up a window with a list of accessible drawing views that includes <Main View>. Selecting the latter acts in the same way as the call of the command "View|Drawing view|Close All", closing all levels of activated nested drawing views. When editing graphics in the drawing views created via the options "Create New Drawing View" and "Create New Drawing View with Caption", all commands for editing copy with translation are available in the activated drawing view mode. |
|
A context menu appears on right clicking
over the lines on the view created by copying (in the activated drawing view area on the main page or on the view page), with the following commands under the "Move Copy" group:
●"Edit Copy" - calls the editing command "EY: Edit Copy"; ●"Delete copy" – deletes all elements of the copy; ●"Copy Parameters" – allows defining the scale and rotation angle of the translation; ●"Explode Copy" - breaks association of the moved elements with the original elements. The copied elements become independent objects, regardless of their parents creation history; ●"Explode Array" - breaks association of the moved elements with the original elements; however, relations are preserved between the objects of the copy analogous to the relations between the original objects; ●"Restore deleted elements" – allows restoring deleted elements of the copy. |
|
-"Parameters" - opens dialog of transformation parameters where you can change scale and angle of rotation.
Two extra options appear at this stage:

Model scale correction (enabled by default). This option is available only for “move” transformations automatically created for the detail view. When this option is enabled, the assigned scale value is replaced by the calculated scale as follows:
The resulting scale |
= |
Assigned scale |
Scale of original page |
Thus, the scale of original page is considered in the movement result. This allows you to obtain correct image of detail view when scaling is used on the original page.
Consider page scales. This flag can be used for the drawing views created with the option
, when scale of the original page and view page differ from 1:1 and do not match. When this flag is enabled the resulting view scale will take into account the scale of both pages:
Resulting scale |
= |
Assigned scale* Scale of drawing view page |
Scale of original page |
Setting this parameter allows you to achieve the correct correspondence of element sizes between the original drawing page and drawing view.
Adding to and modifying the image of drawing view
The image created by the
and
options may need modifications or additions, for example, add chamfers, rounds, clipping line, or place dimensions). One shall keep in mind that these options create graphics based on the "XM: Copy with translation" functionality, therefore, it is subject to all rules and limitations imposed on direct use of this command. Thus, only graphic lines, hatches, 2D fragments and projections are copied. The snapping nodes of the copied lines can't be modified. The copied elements can only be deleted, hidden by the command "ESO: Hide/Show Elements", or their parameters modified (for example, lower the level). Besides, these can be used for snapping the construction lines (see the chapter "Lines") for new element creation. Therefore, if editing a view involves modifying existing graphic lines, two ways of handling are possible:
1. Break association of the copies with the original elements using the command "Explode Copy" of the context menu. As associations are broken, free nodes are created, thus turning the graphics on the view into a sketch suitable for modifications. One should keep in mind that further modifications of the original elements of the drawing will not propagate on the drawing view graphics, thus breaking its parametric behavior.
2. Create new graphic lines based on the copies. To do this, first create construction entities snapped to the copy entities. Then, hide the entities of the copy if necessary. Instead of the hidden lines, create new ones by snapping to the newly created construction entities.
Clipping image by an arbitrary hatch
The image created by the option |
Original image of the detail view |
To edit the drawing view, let's activate its page. Both the hatch for clipping the view and the clipping line shall preferably be defined based on the same spline. Let's create an invisible hatch based on the spline, using the command "H: Create Hatch". Then, right click |
Spline defining clipping hatch and clipping line |
The coming up automenu will contain an option Note that the hatch can't be based on the detail view elements, as their use will create a recursive dependency. |
The original image is now clipped by the hatch created in the previous step |
The final step is creating the necessary construction lines and creation of the clipping line based on the spline. |
The original image is bounded by a thin line. The line ends are defined by the intersection points between the spline and an additionally created construction line |
Updating detail view with label
In the context menu of detail views created with the help of the
option (detail view with label), additional command “Update drawing view” is available. It allows us to update the structure of the drawing view after the original image has been edited.
The selection of elements is carried out in the domain of the label’s note, with the use of the current filter of elements. Only those elements which were created upon creation of the view or the previous update of the view are removed from the displayed page. The elements added to the displayed page after creation of the view are retained.
Exploding Drawing View
The command of exploding the drawing view can be found in the context menu of the view in the command wait mode. As a result of exploding, the object “drawing view” is removed. In the same space, a group of standard elements of 2D drawing (nodes, graphic lines, etc.) resembling the image of the given view is created. If the drawing view image contains dimensions, then after exploding the view, the scale of the dimensions is modified in such a way that dimension’s value remains unchanged. When exploding the drawing view, whose contents is clipped by hatch (for example, when the drawing view was created as “Detailed Drawing View with Caption”), the following rules apply: ●lines clipped by hatch (for example, lines of associate copy) are replaced by standard graphic lines shortened according to the clippings on the view; ●fragments clipped by hatch are copied into the resulting set of elements together with the clipping hatch; ●hatches, clipped on the original view, disappear after exploding the view. Upon exploding, the page with the view can be removed or retained in the document. A query about the necessity of removal is sent. |
|